Tubo Medidor
Vidrio Borosilicatado
Componentes Internos
Acero Inoxidable 316L
Accesorios de Entrada/Salida
FNPT, Horizontal
Válvula de Control opcional
Material de Montaje
Latón o Acero Inoxidable 316L
Elastómeros
Estándar: Viton®
Opcional: Buna N, EPR, y Kalrez®
Calibraciones Certificadas
Conforme al ISA RP 16.6
Escalas
Se puede producir en cualquier unidad volumétrica
| Líquido Compatible | |
| Gas Compatible |

Capacidades
.48 a 7.4 GPM — Agua
2 a 20 SCFM — Aire
Escala
75 mm (3"), 150 mm (6")
Lectura Directa, desmontable
Precisión
Caudal de ± 5% de Escala Total, 75 mm
Caudal de ± 3% de Escala Total, 150 mm
Reducción
10:1 a menos que se indique de otra manera
Repetibilidad 1%
Temperatura Máx.
200° F (93° C)
Presión Máx.
200 psig
Temperatura Ambiente
33°
F to 125° F (1° C to 52° C)
| Parte | Estándar | Optional |
| Tubo Medidor | Vidrio Borosilicatado | |
| Marco | Aluminio Anodizado | 304 SS |
| Pantalla | Policarbonato | |
| Accesorios/Ensamble de Válvulas | 316L ACERO INOX | Latón, PVC |
| Flotador | 316L ACERO INOX | Hastelloy® 276-C |
| Juntas Tóricas | Viton® | Buna-N, EPR, Kalrez® |
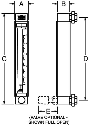
| Modelos a Escala 75mm (3") | |||||||||||||
| Número de Pedido | Caudal del Agua Escala Total | Caudal del Aire Escala Total | Número de Flotador | Tipo de Flotador | Diámetro del Tubo | Número del Tubo | Dimensiones (Pulgadas) | ||||||
| GPM | LPM | SCFM | SLPM | A | B | C | D | E | |||||
| 3G1 | 0.48 | 1.8 | 2 | 56 | 1/2-LPG-04 | LP | .50" | 1/2-24-G-3 | 1.75 | 1.50 | 8.00 | 7.00 | 2.25 |
| 3G2 | 1 | 3.8 | 4 | 112 | 1/2-LPG-05 | LP | .50" | 1/2-24-G-3 | 1.75 | 1.50 | 8.00 | 7.00 | 2.25 |
| 3G3 | 2 | 7.6 | 8.2 | 230 | 1/2-SLG-01 | SL | .50" | 1/2-24-G-3 | 1.75 | 1.50 | 8.00 | 7.00 | 2.25 |
| 3P1 | 2.5 | 9.4 | 10 | 280 | 5/8-GVP-01 | GV | .625" | 5/8-29-P-3 | 1.75 | 1.50 | 8.00 | 7.00 | 2.25 |
| 3P2 | 4 | 15 | 20 | 560 | 5/8-SLP-01 | SL | .625" | 5/8-29-P-3 | 1.75 | 1.50 | 8.00 | 7.00 | 2.25 |
| 3P3 | 5.6 | 21 | | | 5/8-SLP-02 | SL | .625" | 5/8-29-P-3 | 1.75 | 1.50 | 8.00 | 7.00 | 2.25 |
| 3P4 | 7.4 | 28 | | | 5/8-SLP-03 | SL | .625" | 5/8-29-P-3 | 1.75 | 1.50 | 8.00 | 7.00 | 2.25 |
| Modelos a Escala 150mm (6") | |||||||||||||
| Número de Pedido | Caudal del Agua Escala Total | Caudal del Aire Escala Total | Número de Flotador | Tipo de Flotador | Diámetro del Tubo | Número del Tubo | Dimensiones (Pulgadas) | ||||||
| GPM | LPM | SCFM | SLPM | A | B | C | D | E | |||||
| 6G1 | 0.5 | 1.9 | 2 | 57 | 1/2-LPG-04 | LP | .50" | 1/2-24-G-6 | 1.75 | 1.50 | 11.56 | 10.56 | 2.25 |
| 6G2 | 1 | 3.8 | 4.2 | 118 | 1/2-LPG-05 | LP | .50" | 1/2-24-G-6 | 1.75 | 1.50 | 11.56 | 10.56 | 2.25 |
| 6G3 | 2 | 7.6 | 8.2 | 230 | 1/2-SLG-01 | SL | .50" | 1/2-24-G-6 | 1.75 | 1.50 | 11.56 | 10.56 | 2.25 |
| 6P1 | 2.5 | 9.4 | 10 | 280 | 5/8-GVP-02 | GV | .625" | 5/8-32-P-6 | 1.75 | 1.50 | 11.56 | 10.56 | 2.25 |
| 6P2 | 4 | 15 | 20 | 560 | 5/8-SLP-04 | SL | .625" | 5/8-32-P-6 | 1.75 | 1.50 | 11.56 | 10.56 | 2.25 |
| 6P3 | 5.6 | 21 | | | 5/8-SLP-05 | SL | .625" | 5/8-32-P-6 | 1.75 | 1.50 | 11.56 | 10.56 | 2.25 |
| 6P4 | 7.4 | 28 | | | 5/8-SLP-06 | SL | .625" | 5/8-32-P-6 | 1.75 | 1.50 | 11.56 | 10.56 | 2.25 |
| LP | GV | SL |
| Mínima Pérdida de Presións | Viscosidad Máxima Compensación | Caudal Máximo |
Diámetro de la Conexión: .3/8" FNPT

Al hacer el pedido:
Use la siguiente guía para determinar el número del producto específico que necesita.
7
4
5 |
||||||
| Serie de Medidor | Número de Pedido | Material de Montaje | Material de Junta Tórica | Tipo de Escala | Opción de Válvula | |
| Ver Tabla de Especificaciones | Latón - 1 ACERO INOX 316L - 2 |
EPR - 1 Buna-N - 2 Viton® - 3 Kalrez® Sin Válvula - 4 Kalrez® Con Válvula - 5 |
Milímetros - 1 GPM Agua@70°F - 2 LPM Agua@70°F - 3 SCFM Aire@STP - 4 SLPM Aire@STP - 5 No estándar – 6 |
Latón - Entrada - 1 Latón – Salida - 2 Sin Válvula - 3 ACERO INOX 316L - Entrada - 4 ACERO INOX 316L - Salida – 5 |
||
Ejemplo: 745 - 6P4 - 2 - 3 - 2 - 1